访问路径:服务—配送服务—配送工单
【温馨提示】
- 配送工单生成方式:产品销售生成、配送任务中生成和配送工单手工创建生成。
创建配送工单
第一步:点击订单列表左上方的<创建>按钮,进入创建配送工单页面;
第二步:编辑配送工单内容,点击<添加产品>按钮
第三步:选择产品之后确认是否产品选择正确,若发现产品有误则点击<删除>进行删除,若需要继续添加产品则点击<添加>进行添加,若产品选择完毕,则填写数量,选择服务科目后点击<保存>完成配送工单的创建。
服务确认
"制单"状态的订单,可点击左侧多选框选中配送工单,再点击列表上方<服务确认>,可弹出配送确认页面,选择部门,点击<保存>按钮,订单就会变为"已确认"状态。
【温馨提示】
- 对于"已确认"状态的订单,也可点击<服务确认>,可以选择更换部门名称
- "已确认"状态的订单会自动生成到【配送派工】列表里
查看
所有状态的订单,点击<查看>按钮,查看界面包括:配送明细、配送序列号、照片墙、服务工跟踪、状态历史、结算清单等信息;点击不同的tab页名称,展示不同的tab项。
预约调整
点击<预约调整>,可修改联系人信息、服务科目、预约服务时间等信息。
作废
点击<作废>按钮,可将该配送工单作废,作废后不能做其他操作。
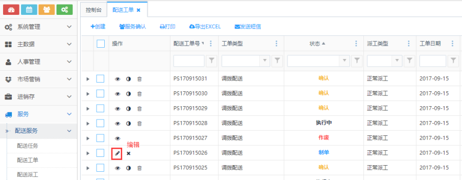
编辑
"制单"状态的订单,点击操作栏的<编辑>按钮,便会跳转到配送工单详情页面,编辑完后点击保存即可。
删除
制单状态的订单,可以对工单进行删除操作。点击<删除>,弹出提示,点击提示上的<确认>按钮,删除该条记录;点击提示上的<取消>按钮,则返回不删除。
打印
第一步:在左侧多选框,选中单据,再点击列表上方<打印>按钮后弹出打印框:
第二步:选择打印模板,会出现打印预览框:
第三步:打印预览框点击打印客户端:
导出
点击<导出EXCEL>按钮可将列表里所有数据导出到EXCEL表里:
财务审核
对于【配送完成】的单据可进行财务审核操作,点击<查看>按钮,进入工单查看页面,点击<审核>按钮可完成财务费用审核操作,工单状态变为"财务审核"。
取消结算
财务审核状态的单据,如有发现费用不对,可取消结算,进入查看页面,点击<取消结算>按钮单据状态变为"配送完成"。
配送完工
对于"已派工"、"执行中"、"暂挂"等单据,可以手动完成工单,进入查看页面,点击<配送完工>按钮,弹出操作框,可选择完工状态,填写完工说明,点击保存即可完成操作。




















添加评论